我們在CRM實施過程中,常常遇到把每個訂單當成獨立項目進行管理的企業。區別于項目式銷售,這類企業是項目式執行(當然不排除他們也有著是項目式銷售過程)。這樣的企業不少,如企業服務行業、機械設備行業、醫療器械行業等等。假如你的訂單管理過程也是項目過程管理,那么,選擇CRM客戶管理系統的時候,你應該注意這些:
一、什么是最重要
在上文《CRM系統功能越多越好嗎? 》我們分析了,企業選擇CRM系統時不應該只求功能多,合適最重要。
CRM市場發展至今已有20年,有很多成熟的CRM軟件,很多CRM功能已經做的非常龐大,千萬不要被迷惑,看到這個有那個有。要明白訂單的項目式執行很難做到標準化,這些功能龐大的都是CRM廠商為市場上大部分企業需要的內容拓展出來的,真正適合你的是靈活配置。
二、關注實施服務
有些自媒體說CRM是輕應用,不需要實施,那可能是他沒接觸過B2B行業,或者他指的是標準化CRM系統。SaaSCRM的普及源自于CRM功能標準化,可量化,但瓶頸也于此,這些都不是你想要的。
對于你的企業,訂單管理即項目過程管理,可能涉及到研發/文控/物料供應/裝配/驗收/調試等,需要把采購、生成、進銷存、安裝服務等都融入到了項目管理中,你需要一個非常有項目經驗的實施顧問,與企業一起梳理、出開發文檔,管理實施過程……

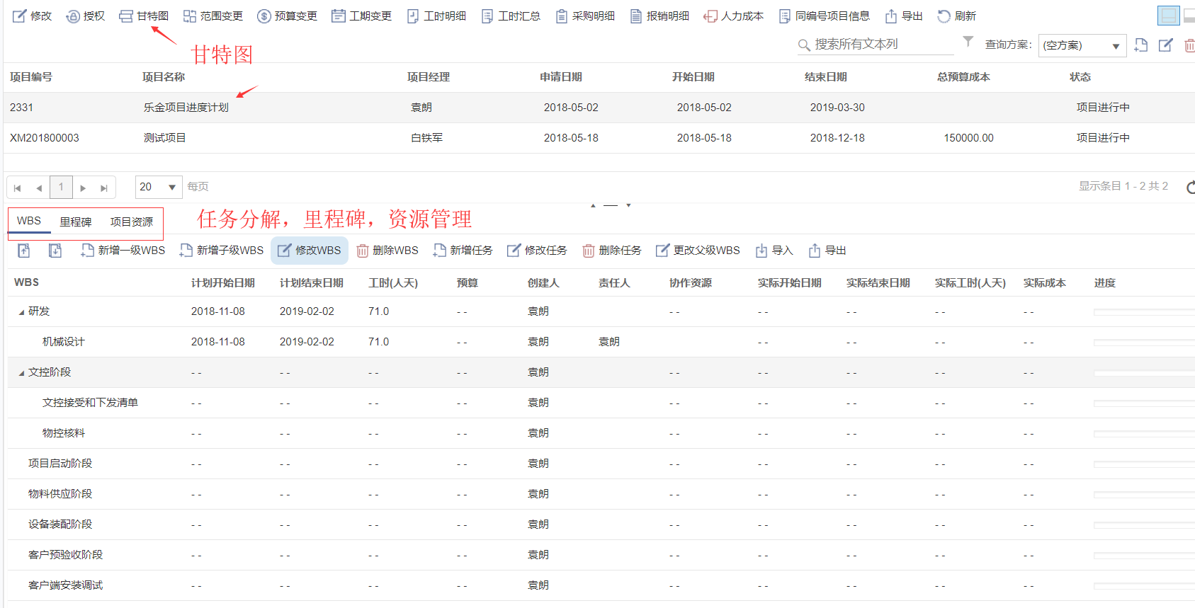
(圖為八駿CRM中項目管理參考,包含立項申請、任務分解、里程碑、資源管理、進度填報等)
三、這是一筆投資而不是成本
如果你的觀念是上系統增加成本,先看免費再找低價,請不要再折騰你的員工不斷切換系統了,未來,很難有軟件能順利執行。
CRM系統是企業最好的投資之一,尤其是訂單執行周期長,使用合適的CRM能夠有效管理訂單執行過程,自動流轉、自動預警、智能分析、發現問題、調整問題。這些價值絕對高于CRM的投入成本!
如果你的企業訂單執行也是項目式過程,不妨了解一下八駿CRM系統,讓你的訂單執行更智能,提高企業業務處理能力,打造企業核心競爭力吧!有興趣的朋友歡迎致電0571-88316562,或識別下列二維碼注冊,免費體驗八駿CRM系統吧!
大家掃碼注冊/或點擊下方(在線注冊)體驗吧~
轉載請注明出處:八駿科技http://www.095543.com
本文來自于八駿科技 http://www.095543.com 八駿科技是專業的企業級CRM系統廠商,歡迎免費體驗0571-88316562
上一篇:擅長做免費CRM的國內CRM廠商為什么開始瞄準中大型企業? 標簽:CRM訂單管理 CRM項目管理系統 下一篇:選擇CRM系統私有化部署的2大原因



